Van cổng ty chìm là gì? Ưu điểm, cấu tạo và ứng dụng của van cổng ty chìm Shin Yi
Trong các hệ thống cấp nước, xử lý nước thải và nhiều ngành công nghiệp hiện đại, van cổng ty chìm là một thiết bị không thể thiếu. Với thiết kế tối ưu, độ bền cao và khả năng vận hành ổn định, loại van này ngày càng được sử dụng rộng rãi. Đặc biệt, van cổng ty chìm Shin Yi đang được đánh giá là một trong những dòng sản phẩm chất lượng hàng đầu hiện nay.
Vậy van cổng ty chìm là gì? Tại sao nên sử dụng van cổng ty chìm Shin Yi? Hãy cùng tìm hiểu chi tiết trong bài viết dưới đây.
I. Van cổng ty chìm là gì?
Van cổng ty chìm (tên tiếng Anh: Non Rising Stem Gate Valve) là một loại van cổng trong đó trục van (ty van) được thiết kế nằm hoàn toàn bên trong thân van. Khi van mở hoặc đóng, trục van không di chuyển lên xuống, mà chỉ xoay tại chỗ để điều khiển lá van.
Khác với van cổng ty nổi – nơi trục van sẽ nhô lên khi mở – van cổng ty chìm giúp tiết kiệm không gian lắp đặt, đặc biệt phù hợp với những vị trí chật hẹp, hố van ngầm hoặc hệ thống đặt dưới lòng đất.

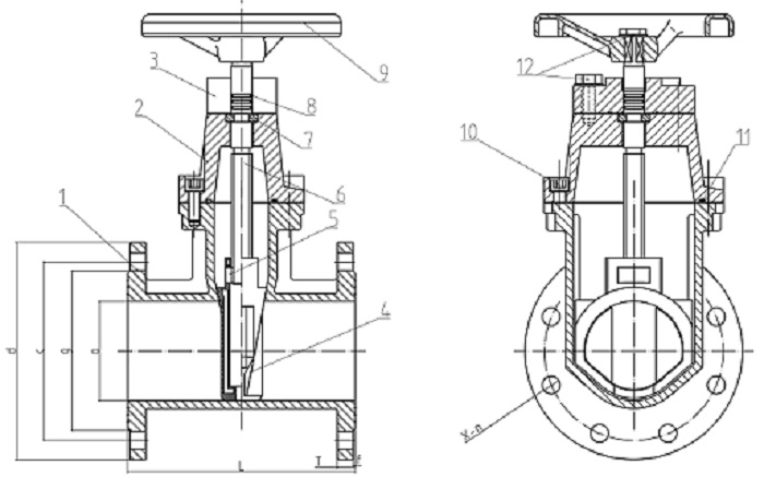
II. Cấu tạo và nguyên lý hoạt động của van cổng ty chìm
1. Cấu tạo cơ bản
Một van cổng ty chìm tiêu chuẩn thường bao gồm các bộ phận chính sau:
-
Thân van: Làm từ gang cầu hoặc gang xám, có khả năng chịu áp lực cao
-
Ty van (trục van): Nằm kín bên trong thân van
-
Lá van: Thường được bọc cao su EPDM hoặc NBR
-
Nắp van: Bảo vệ các bộ phận bên trong
-
Gioăng làm kín: Đảm bảo van không bị rò rỉ
.jpg)
2. Nguyên lý hoạt động
Khi xoay tay van hoặc hộp số:
-
Ty van quay tròn → kéo lá van lên hoặc hạ xuống
-
Khi lá van mở hoàn toàn, dòng chảy đi qua gần như không bị cản trở
-
Khi đóng, lá van ép chặt vào bề mặt làm kín → ngăn dòng chảy tuyệt đối
III. Thiết kế và chất liệu van cổng ty chìm Shin Yi
Van cổng ty chìm Shin Yi được sản xuất theo các tiêu chuẩn quốc tế nghiêm ngặt, nổi bật với thiết kế hiện đại và vật liệu cao cấp.
1. Vật liệu chất lượng cao
-
Thân van làm từ gang cầu dẻo: chịu lực tốt, chống va đập
-
Lá van được bọc cao su EPDM:
-
Chống ăn mòn hiệu quả
-
Tăng khả năng làm kín
-
Giảm rò rỉ gần như tuyệt đối
-
- Phân loại:
- Van cổng ty chìm tay quay – GVHX
- Van cổng ty chìm nắp chụp – GVCX
2. Thiết kế tối ưu
-
Bề mặt trong và ngoài van được phủ sơn epoxy chống gỉ
-
Thiết kế gọn gàng, phù hợp lắp đặt trong hố van ngầm
-
Giúp van vận hành êm ái, hạn chế tiếng ồn
IV. Khả năng chịu áp lực và nhiệt độ vượt trội
Van cổng ty chìm Shin Yi được đánh giá cao nhờ khả năng:
-
Chịu áp lực cao (PN10, PN16 hoặc cao hơn tùy model)
-
Hoạt động ổn định trong môi trường nhiệt độ lớn
-
Không biến dạng khi làm việc liên tục trong thời gian dài
Nhờ đó, sản phẩm rất phù hợp cho:
-
Hệ thống cấp nước sạch đô thị
-
Hệ thống xử lý nước thải
-
Nhà máy công nghiệp, khu chế xuất
V. Dễ dàng lắp đặt và bảo trì
Một trong những ưu điểm lớn của van cổng ty chìm Shin Yi là tính tiện lợi trong lắp đặt và bảo trì.
-
Cấu trúc đơn giản, ít chi tiết phức tạp
-
Dễ dàng thay thế lá van hoặc gioăng khi cần
-
Thời gian bảo trì nhanh → tiết kiệm chi phí vận hành
Ngoài ra, Shin Yi luôn cung cấp hướng dẫn sử dụng và kỹ thuật chi tiết, giúp người dùng dễ dàng vận hành và kiểm soát hệ thống.
VI. Hiệu suất hoạt động và khả năng điều tiết dòng chảy
Van cổng ty chìm Shin Yi không chỉ bền mà còn có hiệu suất vận hành cao:
-
Điều tiết lưu lượng chính xác
-
Mở/đóng nhanh, không gây sốc áp
-
Giảm tổn thất áp suất trong đường ống
Nhờ thiết kế lá van tối ưu, dòng chảy qua van luôn ổn định, giúp hệ thống hoạt động hiệu quả và tiết kiệm năng lượng.
VII. Ứng dụng đa dạng của van cổng ty chìm Shin Yi
Với những ưu điểm vượt trội, van cổng ty chìm Shin Yi được ứng dụng rộng rãi trong nhiều lĩnh vực:
-
✅ Hệ thống cấp nước sạch đô thị
-
✅ Hệ thống cấp thoát nước khu công nghiệp
-
✅ Nhà máy xử lý nước thải
-
✅ Ngành công nghiệp thực phẩm, hóa chất
-
✅ Các hệ thống yêu cầu độ bền và độ kín cao
Đặc biệt, sản phẩm rất phù hợp với các hệ thống ngầm, nơi không gian lắp đặt bị hạn chế.
VIII. Kết luận
Van cổng ty chìm Shin Yi là giải pháp tối ưu cho các hệ thống cấp nước và xử lý nước hiện đại. Với thiết kế bền bỉ, khả năng chịu áp lực cao, vận hành ổn định và ứng dụng đa dạng, sản phẩm không chỉ đáp ứng yêu cầu kỹ thuật mà còn mang lại hiệu quả kinh tế lâu dài.
Nếu bạn đang tìm kiếm van cổng ty chìm chất lượng cao, độ bền vượt trội và đáng tin cậy, thì Shin Yi chính là sự lựa chọn hoàn hảo cho hệ thống của bạn.
Catalogue van cổng ty chìm Shin Yi

